
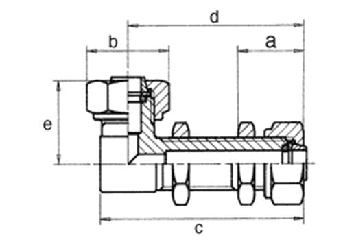
| wdt_ID | ร est. Tubo | a | b | c | d | e | Cod. |
|---|---|---|---|---|---|---|---|
| 1 | 6 | 20 | 22 | 60 | 57 | 35 | 700629058 |
| 2 | 8 | 20 | 22 | 60 | 57 | 35 | 700629059 |
| 3 | 10 | 23 | 27 | 60 | 59 | 35 | 700629060 |
| 4 | 12 | 23 | 27 | 60 | 59 | 35 | 700629061 |
| ร est. Tubo | a | b | c | d | e | Cod. |
Per ogni estremitร il prodotto comprende: Dado in PVDF, Anello conico in PVDF, Rondella in PVDF e Guarnizione O-ring Viton.


